Singlehook, 50mm, LC2500daN, for direct assembly

Single wire hook to be mounted directly on ratchets in lashings.
Read more
Part Number:
120210051
EAN:
7393347055264
Band width (mm):
50
Breaking load (kg):
5000
LC (daN):
2500
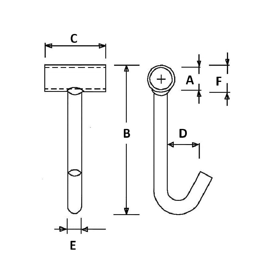
A (mm):
50,0
B (mm):
154,0
C (mm):
81,5
D (mm):
8,0
E (mm):
15,0
Material:
Steel
Previous ID:
10054
Short Description:
Singlehook 50mm for direct assembly | Breaking: 5000kg | LC: 2500daN | Color: Zinc plated

    Description

    Single wire hook to be mounted directly on ratchets in lashings.